新闻网
热点新闻
春城晚报全网矩阵
微博号:
视频号:
其他号:
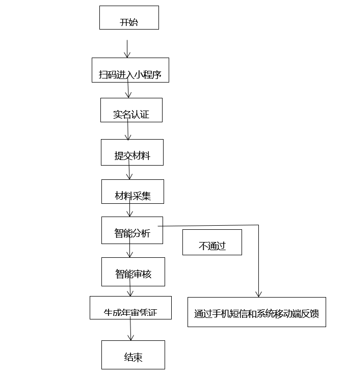
9月30日,开屏新闻记者从昆明市交通运输局获悉,为进一步优化全市交通运输行业营商环境,加快道路普通货物运输车辆年审工作向智能化、便捷化转变,自10月8日起,昆明市将在全市范围内开放道路普通货物运输车辆年审智能审批业务,广大运输企业和个人可通过手机端扫描二维码或在“昆明市交通运输局”公众号菜单栏“便民服务”相关选项中线上办理业务,实现“零材料”“零跑腿”和“零等待”的“秒批秒办”服务体验。
记者了解到,昆明市交通运输局依托云南省道路运输综合管理系统和云南省交通运输厅“一网通办”AI+互联网智能审批系统,优化相关模块功能,开发了“昆明市AI道路普通货物运输车辆年审”程序。该程序运用人工智能技术,打通数据壁垒,自动获取要件数据并进行智能审核,符合条件的自动生成车辆年审电子凭证,审核不通过会第一时间反馈车主和执法监管机构。
前期昆明市以西山区为试点,开展了为期5个月的智能审批业务试点工作,系统运行良好,审批工作高效、顺畅。业务办理过程中遇到问题,可到相应县(市)区交通运输服务窗口进行线下或电话咨询,并由工作人员指导办理。

昆明市道路普通货物运输车辆
智能年审办事指南
一、申报须知
(一)办理前置条件:已办理道路普通货物运输车辆运输证。
(二)申报方式:微信扫描二维码或搜索“昆明市交通运输局”公众号菜单栏中“便民服务”选项进行线上办理。

二、注意事项
(一)超期年审用户须到所属县(市)区交通运输综合行政执法大队进行处理,处理完毕后方可重新办理。
(二)如遇线上无法办理的可到各县(市)区交通运输服务窗口进行线下咨询办理(地址和联系方式附后)。
三、申请材料

四、办理流程

五、办理结果

线下咨询及办理地址、联系方式
1.五华区:昆明市五华区普吉街道五华区交通运输局一楼,0871-65314615。
2.盘龙区:昆明市盘龙区龙泉路691号,0871-65225031。
3.官渡区:昆明市官渡区云秀路2898号政务服务中心二楼,0871-65422152。
4.西山区:昆明市西山区春雨路188号政务服务中心13楼,0871-68426566。
5.呈贡区:昆明市呈贡区三岔口423号,0871-67453262。
6.东川区:昆明市东川区东起路与团结路交叉口西北角东川区政务服务中心,0871-62131716。
7.晋宁区:昆明市晋宁区东凤路欧陆广场国资大厦政务服务中心一楼,0871-67898559。
8.安宁市:昆明市安宁市金辉路宁湖大厦一楼安宁市政务服务中心,0871-68782126。
9.富民县:昆明市富民县黎昌路7号黎阳时代广场1栋政务服务中心二楼综合服务窗口H8号,0871-68814355。
10.宜良县:昆明市宜良县公园大道1号政务服务中心一楼大厅21-23窗口,0871-67521322。
11.嵩明县:昆明市嵩明县嵩阳街道明馨园玉馨路与玉带路交叉口玉馨路1号楼嵩明县政务服务中心3号窗口;0871-67915274。
12.石林彝族自治县:昆明市石林彝族自治县鹿阜街道办事处沙地巷3号石林县政务服务中心一楼大厅,0871-67746821。
13.禄劝禄劝彝族苗族自治县:昆明市禄劝彝族苗族自治县掌鸠河北路46号(武康家具对面),0871-68999637。
14.寻甸回族彝族自治县:昆明市寻甸回族彝族自治县仁德街道文苑路50号,0871-62657519。
开屏新闻记者 蓝灏 实习生 王天祺 陈红梅
一审 孙琴霞
责任编辑 罗秋旭
责任校对 何丹
主编 熊波
终审 编委 李荣
滇公网安备53011202001054号